Смастерить схему, управляющую этим клапаном не так сложно. Правда, простейшие варианты (типа описанных Вами) тут не пройдут, надо же как-то ограничивать время воздействия на обмотку клапана. Но это не тот путь, которым привыкли ходить профессиональные холодильщики - нам проще заменить деталь, чем ковыряться с изобретением очередного велосипеда.
Тут кстати, как я понял, заглох один теоретический топикНет желающих оторваться в теме максимально простой схемы альтернативного управления клапаном? Правда, тут будет больше про электрические дела, чем про "фреоновые".
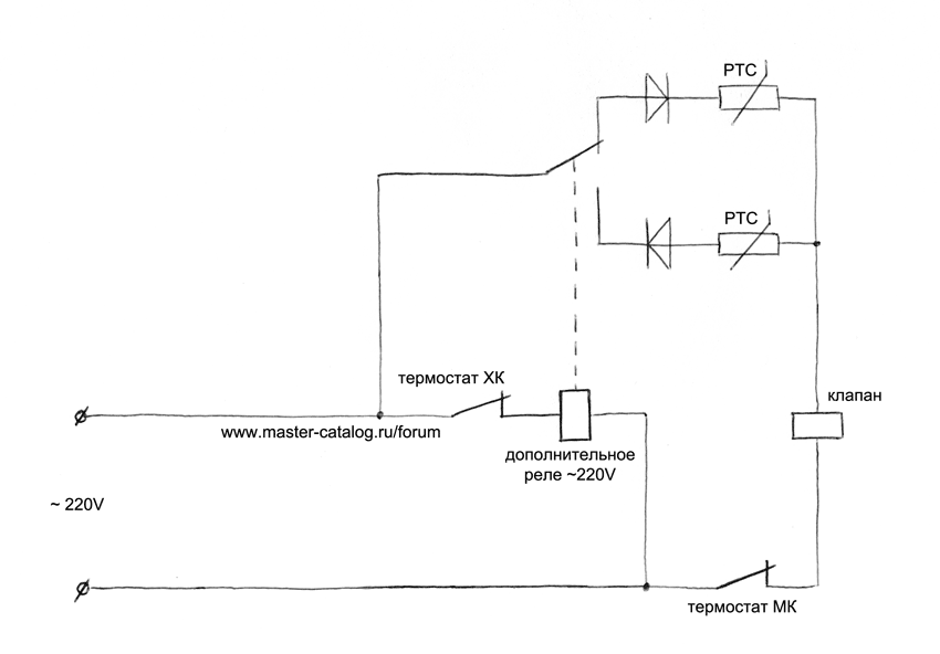
Условия задачи, вроде, очевидны. Есть двухкамерный холодильник, агрегат которого построен по, ставшей уже классикой, схеме с двумя капиллярками - два последовательных испарителя (сначала холодильная "плачка", потом морозильный) во вход плачущего испарителя впаяна первая ("холодильная") капиллярка, во вход морозильного впаяна вторая ("морозильная") капиллярка (т.е. получается, что морозильная капиллярка впаяна в "промежуток" между двумя испарителями), всасывающая трубка компрессора подключается к "выходу" морозильного испарителя. Как-то так (вроде, не должен был напутать)). Выход конденсатора подключен на вход клапана, а два выхода клапана - это две наши (холодильная и морозильная) капиллярки.
Клапан управляется электрическими импульсами разной полярности. В зависимости от полярности управляющего импульса наш клапан переключается в одно из устойчивых состояний - хладагент, поступающий на вход клапана, подается либо в холодильную, либо в морозильную капиллярку. Это я так, на всякий случай написал. Уверен, что все это и без меня знают ))
Клапаном можно управлять диодом, подавая через него сетевое переменное напряжение 220V на обмотку клапана. Тот факт, что при использовании диода у нас будет последовательность коротеньких импульсов (полупериодов сетевого напряжения) на возможность управления клапаном не влияет, клапан будет устойчиво переключаться.
Но подавать постоянно напряжение через диод нельзя - обмотка клапана не рассчитана на такой режим и, имея относительно невысокое сопротивление, перегреется и выйдет из строя. Надо как-то ограничить время, в течение которого на обмотку клапана будет подаваться питание. Вот в этом-то и вся суть проблемы. Производители ее решают относительно просто - используют электронный блок управления, который ограничивает время воздействия на обмотку. А нам надо, используя два простых термостата (один в МК, другой в ХК) и не очень сложную схему, как-то управлять клапаном.
Если есть желающие помозговать, то, как говорится, милости просим ))
Я бы, наверное, решал проблему следующим образом (см. прикрепленное изображение).
valve.gif
PTC на схеме, это какие-нибудь не слишком мощные позисторы. Типа того синего, который в Danfoss ePTC используется. Они призваны "отключать" обмотку клапана через секунду-другую после начала прохождения тока.
Есть небольшой минус у схемы - при первоначальном включении в розетку (когда контакты обоих термостатов замкнуты) возникнет нежелательный эффект, называемый гонка сигналов. В начальный момент времени (сразу после включения в розетку) контакты дополнительного реле будут в одном положении, а как только оно сработает (из-за замкнутых контактов термостата ХК) - в другом. Возможно, от этого возникнет короткий дребезг в клапане. Но не думаю, что этот недостаток настолько велик, что надо подавлять его на уровне схемотехники.
Может, у кого-нибудь еще более простое/дешевое решение есть? В принципе, можно наверное и контроллер какой-нибудь применить, способный такие короткие импульсы генерировать. В этом случае и термостаты, наверное, не потребуются. Только вот цена контроллера высока...


Нет желающих оторваться в теме максимально простой схемы альтернативного управления клапаном? Правда, тут будет больше про электрические дела, чем про "фреоновые".
