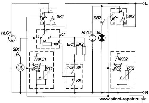
Вот что установили: Embraco EMIE 65HER R-134a 149Вт, фильтр заменили, вакуум. делали, все в норме, сегодня вернул терм. регулятор К-57, открыл посмотрел таймер, все контакты целые не залипли, сопротивление целое. Уточните кто знает по контактам К-57, 4 и 6 компрессор, 3 лампочка и земля отдельно на корпусе, верно?

