Холодильник Аристон MBA 4031 CV
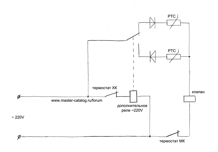
Здравствуйте ребята,мне друг отдал эту модель холодильника,сказав что уже купил новый,а с этим замучился,опять вылетела плата управления.Забрав его,проверил,морозильник морозил нормально ,а вот холодильное отделение работало когда ему захочется.В электрике я не силён,по этому было принято решение заменить её на простейший терморегуляторы от стинола 57 и 59(чтобы полностью избавиться от этой проблемы).Поставить их проблем нет,а вот подключить управление саленоидом (Уже установленным в данной модели) у меня мозгов не хватает.Управление им происходит вроде импульсом,со сменой полярности на 220В.Как я не прорисовывал схему,используя диоды и пусковую обмотку компрессора(для импульса)у меня ничего не выходит.Может кто подскажет ,что можно сделать,чтоб включить соленоид в схему.Буду благодарен за любую помощь.